新浪体育

“乒乓中国”积分赛及中国乒协会员乒乓球段位

新浪体育

关注

一、积分制的背景和意义

1、中国业余选手积分制背景

中国是乒乓大国、乒乓强国,这项运动之所以长盛不衰,其重要因素是参与乒乓运动的人数基础庞大。据不完全统计,国内接触过乒乓运动的人数在千万人以上,但与之不相匹配的是中国业余乒乓球运动没有自己的水平评定体系,评价一个业余选手的水平往往需要拿大家都熟悉的第三方作参考,这种现状不利于业余乒乓球运动的健康发展,业余爱好者也无法准确了解自己的真实水平,无法清晰地看到自己的进步与成长。

积分制概念并非近几年出现,早在十年前,中国的业余乒乓球爱好者群体就希望打造出一套适合国人的积分系统。然而,虽然中国的乒乓爱好者基数庞大,但真正长期、频繁参与乒乓运动的人数并没有想象中那么多,粗略统计,每周参与两次以上乒乓运动的人数在百万左右。由于这些活跃的爱好者相对分散,积分制概念的推行受到阻碍。

2、国际先进的积分赛制

国际乒联面向世界专业级选手制定了详细的积分规则,积分排名相对真实地反映出每一位国际选手的技术水平,但由于积分算法相对复杂,并未全面向所有乒乓爱好者推广。

美国乒协积分制自上世纪70年代起执行,其积分算法简单,面向全美所有乒乓爱好者推广,在选拔美国国家队队员的过程中,积分是重要的参考指标。

欧洲国家都有相应的积分系统,法国、德国的各级别比赛都会计算选手积分,具体积分算法与美国大同小异。

积分制的实施对乒乓球运动的推广和发展起到重要作用,也是乒乓国际交流的纽带。

二、“乒乓中国”积分排名体系

1、积分的目的是用以表示会员的乒乓球实际水平,在同一个评分系统里会员的积分排名体现出其在所有会员中的位置。

2、会员的初始积分通过中国乒协会员俱乐部相关委员会评估所赋予,也可参考评分依据自评初始积分。评估依据见附表一。

3、初始积分不一定准确反映会员的真实水平,仅是一个参考值。随着会员参赛次数的增加,积分值会越来越接近真实水平。

4、会员积分的增减和参赛次数没有绝对关系,而和对手的积分以及最后的胜负关系有密切联系。例如:一个高排位选手战胜一个低排位选手并不会获得很多积分,低排位选手也不会减去很多积分。但是,如果胜负关系颠倒,低排位选手战胜了高排位选手,那么将获得很多积分,同样高排位选手将减掉很多积分。因此,随着参赛次数的增加,其积分值将越发接近选手此阶段的真实水平。积分加减的规则见附表二。

5、中国乒协会员俱乐部服务中心举办、授权的各类比赛,其成绩均纳入“乒乓中国”积分排名体系,将在每月底在中国乒协会员网(www.pingpangchina.com)公布最新积分排名。

三、“乒乓中国”声望值排名体系

1、声望值是“乒乓中国”积分体系的一个特色,它反映出会员的活跃度、知名度。

2、设定声望值的目的首先是为了鼓励全体会员积极参与中国乒协举办的各项赛事;同时,也是为那些在乒乓球技术并不出众但酷爱乒乓球活动的会员提供一个获得尊重和奖励的机会。

3、会员每参加一次积分赛声望值将自动增加一个分值,比赛取得好成绩将获得高分值。因此,对于经常参加比赛的会员分值将会不断累加从而获得高声望值,对于经常参加比赛同时又拥有高排位的会员将会更快获得高声望值。具体为:每参加一次比赛(至少上场一次)首先获得50分;每赢得一场比赛额外加10分;每输掉一场比赛额外加3分;弃权不得分。

4、声望值是一个动态系统。会员的声望值不论其是否参加比赛均会逐月递减一个额度直至为零,也就是说如果长期不参加比赛,即使是一名拥有高积分的高排位会员也会声望值为零。

5、中国乒协举办、合作的各类比赛均纳入声望值排名体系,中国乒协会员网将在每月底公布最新“乒乓中国”声望值排名。

四、积分赛事安排及段位评定

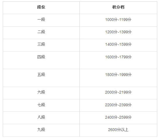
“乒乓中国”积分系统充分依据中国乒乓爱好者的特点进行积分段分组,保证了各组别选手技术水平相对均衡,增加了实战乐趣。根据乒乓爱好者的技术水平,特别设定九个段位,并由中国乒协会员俱乐部服务中心颁发段位证书,以评定选手的技术级别。

积分赛事安排及段位说明如下:

1、“乒乓中国”积分赛在全国的中国乒协会员俱乐部中举行,通常安排在每月的最后一周的周六举行,赛事安排将在中国乒协会员网(www.pingpangchina.com)通知。

2、积分赛可采用公开赛、分组赛的方式,不分年龄和专业背景。赛制可为单打、团体等形式,其中双打比赛不计入积分系统,只有单人对抗的成绩有效。

3、所有参赛选手必须为中国乒协会员,参赛前需自评初始积分并出示中国乒协会员卡。

4、积分1000分以下不分段位,1000分以上每200分为一个段位,分别为:

5、凡参加中国乒协认证积分赛事达到6次者,均可向中国乒协会员俱乐部服务中心申请等级段位证书。需要申请段位证书的会员,可到中国乒协会员网(www.pingpangchina.com)下载或在线提交申请表,缴纳证书工本费。所有段位有效期为12个月。

五、奖励体系

“乒乓中国”自2012年推出后,在第三届中国联通乒乓球挑战赛中全面应用,目前全国共3万余人已经具有积分。在2013年的各项大赛中,将继续推广“乒乓中国”积分制。具有段位证的会员,可于参赛后在段位证书上加盖比赛专用章,在6个月内参赛达到12次,将给予奖励,奖励规则请参看实时通知。

2013年将全面启用声望值排名,所有会员获得的声望值将可在中国乒协会员商城兑换相应礼品。

六、收费标准

1、中国乒协业余会员卡申请

面向全国所有乒乓球爱好者,会员卡制卡费10元。可到中国乒协会员网下载相关申请表格,并参看申请须知。

2、中国乒协个人会员卡申请

面向全国所有乒乓球爱好者,会员服务费50元/2年,包含制卡费。可到中国乒协会员网(www.pingpangchina.com)下载相关申请表格,并参看申请须知。

3、段位证书申请

所有中国乒协会员可于中国乒协会员网查询当前积分、段位水平,如需申领段位证书,可到中国乒协会员网(www.pingpangchina.com)下载相关申请表格,填写后邮寄到指定地址,证件办理周期为10个工作日。初次申领段位证费用为50元,更新段位费用为30元。

七、赛事合作方式

说明:

中国乒协会员俱乐部、各地方组织举办的合作赛事均由中国乒协会员俱乐部服务中心授权,积分赛赛制自定。申报赛事合作可于中国乒协会员网(www.pingpangchina.com)下载相关申请表并填写、提交。所有参赛选手均需加入中国乒协业余会员(10元制卡费),所有选手比赛成绩均需按要求填写表格,于赛后三天内提交到中国乒协会员俱乐部服务中心。

积分赛根据参赛人数,可分为A(五段以上)、B(四段)、C(三段)、D(二段以下)、OPEN(不分段位)五个赛段(当不足10人参赛,该赛段取消)。每个赛段分别进行循环赛、淘汰赛,直至决出各赛段冠亚季军。

任何一名乒乓球爱好者均可以报名参加积分赛。第一次参赛者将被赋予一个初始积分,选手凭此积分参加相应赛段的比赛(参赛者在其他组织获得的积分可作为主要参考因素)。

附表一:

积分估计        技术描述

400---刚开始打乒乓球

600---很有限的打球经验,主要练习能够打到球

800---需要打球经验,有明显的击球弱点,能打一些和平球,发一些和平球

1000---开始学习判断球的旋转,对球的控制能力弱,能打一些速度、力量一般的球

1200---能协调地回击中速球,能简单的使用搓、推、挡、攻等各种击球方法, 但缺乏较好方向性、力度和旋转的控制,能发一些有力度和旋转球

1400---对来球的旋转性和方向性有一定的判断, 球的控制能力有提高, 能较熟练的使用搓、推、挡、攻等各种击球方法,发球有一些落点、旋转、速度的变化

1600---正反手击球较稳定,方向感较好。基本掌握前冲弧圈球、高吊弧圈球的区别,对不同打法有一定的了解,熟练掌握3套以上的发球方法,接发球判断较好

1800---熟练运用击球力量、速度、旋转的变化,开始注意步法, 了解反胶、长胶、生胶、正胶的不同特点。针对不同的对手采用不同的战术打法,回球落点好。能连续进攻,已经形成自己的打法特点。利用发球为自己创造进攻机会或直接得分。(在对手不易判断、用近乎相同的发球动作发出上下旋变化的球

2000---有很好的球感、手感和判断力,经常能在比赛中打出精彩的对攻回合球来。经常使用摆、晃、切、挑、挤、弹、抹、快带等技术,能迅速洞悉对手的弱点,及时调整战术,发挥自己的特长和优势。

2200---形成了以速度、技巧、力量和顽强作风作为取胜法宝的风格。在比赛中变化不同的战术,在有压力的情况下仍能稳定地发挥水平,曾接受过一定专业训练,参加过省级水平的比赛。

2400---经过专业强化训练,参加国家级水平的比赛,并有国家定义的运动员级别。

附表二:

“乒乓中国”的计分原则是根据你和对手的积分之差对照下表即可查出获胜方所加的分数(负方减掉相同的分数)

计分原则计分原则
加载中...