新浪体育

箱根驿传丨驹泽大学最后时刻逆转夺冠 登上顶峰!

新浪体育

关注

2021年1月3日,第97届箱根驿传第二日复路赛程开启。

昨日往路赛程,创価大学夺得第97届箱根驿传往路冠军,成绩为5小时28分08秒,全程平均配速:3分03秒。

东洋大学夺得往路亚军,成绩为5小时30分22秒;驹泽大学斩获往路季军,成绩为5小时30分29秒。青山学院往路第12位,距离首位7分35秒的差距,机会渺茫。

第二日复路赛程共109.6公里,往路优胜的创価大学率先起跑。

最终,经过激烈的比赛角逐,驹泽大学斩获第97届箱根驿传冠军,两日总公里数:217.1公里,总成绩为10小时56分05秒,平均配速:3分01秒。

创価大学获得亚军,总成绩为10小时56分56东洋大学获得季军,总成绩为11小时00分57,青山学院最后时刻没能完成反超,排名第4。

#强风吹拂#

第97届箱根驿传比赛回顾

#复路首战丨六区#

驹泽下坡狂追,差距缩短至1分09秒

复路首站六区:箱根→小田原(20.8km),赛道全部为下坡,该赛段和“王牌二区”有着同等重要的地位。全程下坡赛道有利于领先院校扩大优势,同样也是落后院校缩小差距的关键赛段。

首日往路优胜的创価大学率先起跑,驹泽大学在首日往路仅落后排名第二位的东洋大学7秒。六区开跑后,驹泽大学选手花崎悠紀就将东洋大学赶超,朝着首位創価大学的浜野将基进发。

临近17km处,驹泽大学的花崎悠紀将初始差距2分21秒,缩短至1分29秒,并且还在进一步拉近距离。

最终,驹泽大学的花崎悠紀以57分36秒的成绩完成六区赛段,获得六区区间赏,与首位创価大学差距缩短至1分08秒。

东海大学则是将学校排名追至3位,与东洋大学几乎同时出发。青山学院追至第10位,提升了2个排名。

六区区间纪录:东海大学館沢亨次,在2020年跑出的57分17秒。

#高速赛道丨七区#

东洋大学西山和弥缠斗东海

高速七区:小田原→平塚(21.3km),七区平路较多有利于选手发挥出超水平,但温差较大是该区对选手的考验。

七区,东洋大学将西山和弥派出,往年他都是战一区,与东海大学本間敬大几乎同时出发,之后两人缠斗在一起,但之后西山和弥被其甩开。青山学院在近藤幸太郎的发挥下将排名提升至第7位。

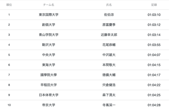
最终,东京国际大学的佐伯涼以1小时03分10秒的成绩获得七区区间赏。

创価大学原富慶季以1小时03分12秒完成七区赛段,驹泽大学花尾恭輔以1小时03分55秒完成交接,并未进一步拉近差距。

青山学院在近藤幸太郎出色的发挥下,以1小时03分14秒的成绩完成交接,将学校排名提升至第7位。

七区区间纪录:明治大学阿部弘輝,在2020年跑出的1小时01分40秒。

#箱根八区#

青学众将齐发力,排名升至第5

箱根八区:平塚→戸塚(21.4km),八区后半段是赛道难点,选手在15km“游行寺坂”时会有一段斜坡要爬,选手描述它像“一堵墙”,温度和赛道会给选手带来不小的难度。

八区赛段,创価大学和驹泽大学的差距,已经能在一个转播画面看到了,差距正一步步被缩小,夺冠队伍将在创価、驹泽两个大学中产生,其余院校差距略大。

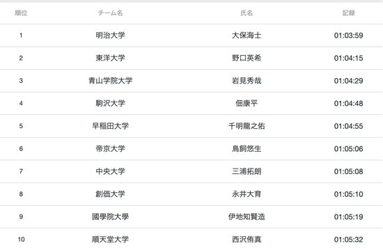
最终,明治大学大保海士以1小时03分59秒的成绩获得八区区间赏,东洋大学野口英希以1小时04分15秒的成绩完成交接,实现对东海大学的反超。

青山学院则是不负众望,岩見秀哉发挥稳定,以1小时04分29秒的成绩完成赛段,将学院排名再次提升,目前排名第5,落后首位6分20秒。

八区区间纪录:东海大学小松陽平,在2019年跑出的1小时03分49秒 。

#逆转九区#

创価大学进一步扩大领先优势

箱根九区:戸塚→鶴見(23.1km),九区为往路二区,复路距离最长的区间。院校为了最后的名次,综合优胜或种子权,都会将经验丰富的老人安排在此,稳住优势或放手一搏。与二区相同,九区也经常上演绝地逆转,所以也被称为“逆转的舞台”。

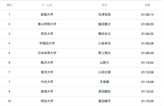
九区交接时,创価和驹泽的差距仅1分29秒。九区赛段过半,创価大学石津佳晃将领先优势再次扩大了30秒以上,两个学校的差距再次提升至2分钟多。

青山学院飯田貴之出发后不久,就赶超东海大学長田駿佑,学院名次再进一名,随后两人开始拉锯战,在临近九区终点时,飯田貴之加速摆脱成功,率先交接。

最终,创価大学石津佳晃以1小时08分14秒完成九区赛段,虽未能打破区间纪录,但获得九区区间赏,将领先优势扩大至3分19秒。

青山学院飯田貴之以1小时09分20秒的成绩完成赛段,将学院排名追至第4,距离首位7分26秒,距离排名第3的东洋大学1分15秒。

九区区间纪录:中央学院大学篠藤淳,在2008年跑出的1小时08分01秒。

#决胜十区#

驹泽大学逆转夺冠!

决胜十区:鶴見→大手町(23.0km),十区区间纪录是创価大学嶋津雄大,在2020年跑出的1小时08分40秒。

10区上演了经典追逐战,驹泽对创価、青山对东洋,青山率先完成对东洋的反超。驹泽大学石川拓慎在21km处完成对创価大学小野寺勇樹的反超。

最终,驹泽学以10小时56分05秒的总成绩斩获第97届箱根驿传冠军,到达箱根顶峰!

#强风吹拂#

从这一刻,新的一年又开始了

第97届箱根驿传落幕!从这一刻,新的一年又开始了。

今年,我们看到创価大学在不被看好的情况下,杀出重围拿到亚军;我们看到驹泽大学众人为了冠军奋力追赶逆袭夺冠;我们看到青山学院复路从第12追到第10、第7、再到第4;我们看到东洋、东海两所大学缠斗厮杀。

每届箱根都在上演着不同的故事,每所学校都在向箱根顶点进发,每位强者都有着自己不断前行的动力,或许这就是箱根,从来都不是“英雄主义”,第10区的选手也绝对不是全场主角,他们只是背负着前9人的汗水和院校的希望,跑好最后一棒,可能是为了优胜、名次、种子权。

但有一点相同的是,他们都会伴随着伙伴们应援的欢呼声冲过终点,无论成绩好坏,新的一年都在这一刻开始了,再一次与伙伴们继续追逐箱根顶峰!

(来源:98跑)

加载中...