新浪体育

2019上马即将开启报名:直通选手瓜分多少名额?

体育综合

关注

上马将于2019年11月17日(星期日)7:00开赛;

比赛项目仍然为三个,分别是:全程马拉松(42.195公里)、10公里跑、健身跑。

其中,马拉松限报 25000人、10公里跑限报 6000人、健身跑限报 7000人。

今年上马的五个分区都设置计时毯,杜绝选手跨区起跑。

此外,慈善名额7月29日20:30报名开始,名额500个,3000元一个名额,额满即止。

大众跑者预报名时间:8月1日10:00-8月12日17:00

公布抽签结果日期:8月23日下午

直通/精英跑者报名时间:7月29日20:30-7月31日17:00

完成缴费后,无须参加抽签,直接获得参赛资格。

于是,第一波精英跑者已经在朋友圈发布自己中签的截图,那叫令人羡慕!

破3选手还能获得代表荣誉的破3 T恤。

奖牌也将亮瞎眼!

什么样的跑者才能成为直通/精英跑者呢?

直通跑者分为两类:

一类是2019上海国际女子半程马拉松赛前200名参赛者。

一类是2019上海国际半程马拉松赛男子半程前600名、女子半程前300名的参赛者。

精英跑者则是参加过2018上海国际马拉松赛,并且全程成绩达到《中国田径协会马拉松及相关运动大众选手等级评定实施办法》中关于各年龄段精英级选手成绩要求的参赛者,注意并非所有精英跑者都能直接获得,而是要参加过去年上马,并且成绩达标者。

成绩标准如下:

全马免抽签选手成绩标准

那么问题来了,有多少跑者能获得直通或者精英名额呢?

直通名额满额1100名。

而2018年数据显示:

包含特邀选手、国内精英选手在内,上马男子有693人、女子27人进入3小时(不含3小时整)大关。

根据中国田径协会马拉松及相关运动大众选手等级标准,不考虑年龄因素,男子选手成绩基本要在330左右,女子要到355左右且参加了2018年上马,基本可以确保拿到精英名额。那么2018年上马男子进入330,女子进入355的选手大概有多少人呢?

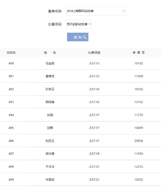
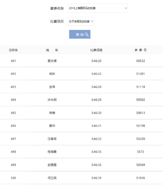
根据上马官网成绩查询:

仅能查到2018年上马男子前500名,女子前500名名单,其中男子第499名成绩为257左右,女子第500名成绩为346左右。

而男子从257到330跨度达到半小时以上,保守估计总计有3000-4000人能达到330以内,女子从346到355左右,跨度则很有限,估计能有600人达到该成绩。

2018年上马男子第500名左右成绩

2018年上马女子第500名左右成绩

我们可以大体估算:

上马直通名额满额1100名

上马达到精英级别的选手大约为3600-4600人,总计为4700-5700人。

考虑到这其中有部分精英选手重复参赛,所以估计最终具备直通或者精英条件的选手有4000-5000人规模,当然也并非所有具备上述资格的选手都一定会报名参加2019年上马,所以,大概3000-4000人能够直接获得上马名额。

上马全马赛事名额总共为25000人,如此计算,约有12-16%的名额已经被这部分选手瓜分,至少也有10%的名额已经没了;

这也意味着上马每10名参赛选手中就有1-2人为精英选手。上马的吸引力可见一般。

可以预见的情况下,上马名额依旧火爆,且上马对于报名选手没有像北马厦马那样,要有之前参赛经历才能报名,所以中签难度理所当然会越来越大。

(慧跑)

加载中...