80岁大爷全马311,打破世界纪录?2018国内业余排名引争议
体育综合
编辑 / 橙橙
前段时间,中国马拉松官网进行了数据更新,2018年各年龄段国内业余选手排名出炉。
不过这份数据存在一些有疑问的地方:
比如明明是国内选手排名,却有很多国外选手也进入了榜单(难道入了中国国籍?);
比如明明是业余选手排名,却有相当多体制内的选手也在其中,不知道田协业余的标准是怎么划分的?
比如同样也是体制外选手,但李子成却没有上榜。
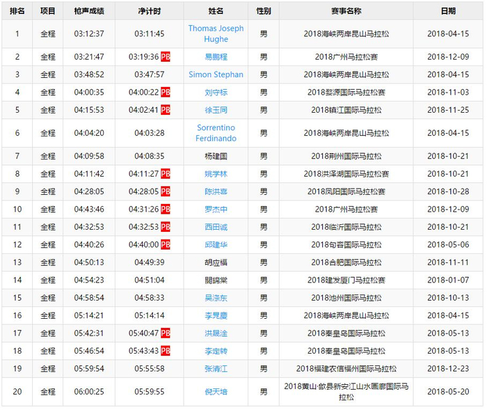
当然了,上述这些疑问,可能还有待商榷的地方,但下面这个疑问,就存在很大的问题了,那就是:在80+岁年龄组的排名上,排第一的是一位叫Hughe的外国老头,他以3小时11分45秒的成绩力压群雄。

(80岁以上男子业余选手排名)
要知道,80岁以上的马拉松世界纪录是3小时15分54秒,由加拿大已逝老人Ed Whitlock在2011年多伦多马拉松上所创造。
难道去年真的有人打破了这个世界纪录?我觉得这种可能性不大。小编也查了下这个成绩的分段纪录,遗憾的是并没有。
很有可能要么是数据搞错了,要么就是替跑,你觉得会是哪种可能性呢?

(2018中国男子业余选手前20名)
2小时20分,是中国马拉松男子健将等级与国家一级的分割线,仅根据中国马拉松官网的这份数据,2018年中国男子业余马拉松选手跑进220的达11人,比2017年多了7人。
如果算上专业运动员,2018年中国男子跑进220的选手一共为26人。(戳这里,看看他们都是谁。)今年到目前为止,男子跑进220的选手已经达到19人。
注意看排名第七的张嘉哲,他是台湾马拉松历史上跑得第二快的人,其实他的全马PB是2小时15分56秒,在2011年郑开马拉松上跑出来的。

(2018中国女子业余选手前20名)
女子方面,跑进240(健将)的有6人,分别是李丹、李芷萱、何引丽、姚妙、金铭铭、张美霞,而跑进3小时的有71人。今年,女子已经有2人达到东京奥运标准(李芷萱和何引丽跑进230)。
下面来看看各个年龄段男子业余选手的排名(前20)吧。

(18-34年龄段男子业余选手排名)
男子18-34岁,排名第一的是管油胜,他上榜的成绩是武汉跑出来的2小时16分08秒,而这也是他的PB成绩。在前不久的重庆马拉松上,他再度跑出2小时16分的成绩。

(34-39年龄段男子业余选手排名)
除去排名第一的外国选手,在34-39这个年龄段,前面介绍过的台湾历史上跑得第二快的人张嘉哲排名榜首。他是1983年生人,今年36岁。
上海业余跑者李一鹏排名第二,不过他因为禁药被取消了2018上海马拉松成绩。

(40-44年龄段男子业余选手排名)
40-44年龄段,排名榜首的是一位叫陈剑的跑者。 2017年,他在这个年龄段排名第8,去年跃居榜首。他曾以2小时39分17秒的成绩获得2017深圳宝安国际马拉松国内冠军。

(45-49年龄段男子业余选手排名)
曾经是专业运动员的辽宁籍于云辉以2小时30分18秒的成绩成为2018年45-49岁年龄组跑得最快的业余选手。
2017年40-44岁年龄段跑得最快的荆海峰排名第二,他是一名厨子,利用业余时间来训练。

(50-54年龄段男子业余选手排名)
有着云南牛人之称的马亮武,以2小时42分53秒的成绩排名这个年龄段第一。
排名第二的是元大都跑步俱乐部的总教练朱兴有,他的全马最好成绩是2小时14分,也是个很厉害的跑者。

(55-59年龄段男子业余选手排名)
55岁到59岁年龄段,王勇以2小时47分18秒成绩排名第一。排名第二的是连玉山,马拉松助手曾经采访过他。(戳这里看他的跑步故事)

(60-64年龄段男子业余选手排名)
这个年龄居然有3人跑进3小时,真不简单。
闫志祥以2小时55分59秒的成绩排名第一,下图是去年秦皇岛马拉松上的闫志祥,看起来非常有精神。


再来看看他的分段成绩,几乎没有掉速。

(65-69年龄段男子业余选手排名)
排名65-69岁年龄段第一的是黄财富老爷子,相信很多跑友对他已经很熟悉了。他今年两度跑进3小时,无锡马拉松更是跑了2小时52分的成绩,差点打破世界纪录。(戳这里了解他跑完无锡马拉松后的感想)
另外,排名第三的张民毅老爷子,也是非常有故事的人。

(70-74年龄段男子业余选手排名)
这些70岁以上的老人,还能稳定地跑进4小时,你怕了吗?
在70-74岁年龄段,1947年出生的陈全义排名第一。3小时33分26秒的成绩并不是他去年最快的成绩,他去年在海口马拉松上跑了3小时28分50秒的成绩。

2017年这个年龄组第一的高富此次排名第三,2017年他排名第一的成绩是3小时26分08秒。
一个70多岁的老头,全马还能跑进3个半小时,真是秒杀众多年轻人呀。

(74-79年龄段男子业余选手排名)
74-79岁年龄段,2017年排名第一的孙玉权蝉联。76岁的他还能在2018厦门马拉松上跑进4小时,真是大写的牛!同样在去年厦门马拉松上,1943年出生的邹唐太也跑进了4小时。

(80岁以上男子业余选手排名)
此外,在80岁以上年龄段,还有一位叫易鹏程的中国老大爷跑了3小时19分36秒的成绩,实在让人佩服~
以上,就是此次中国田协官网公布的2018业余排名,你排名第几?对这份名单有什么想说的?

不过,不管怎么样,业余选手越来越能跑,这也是不争的事实。今年的无锡马拉松,破3人数再达新高;而重庆马拉松日前公布的市民组成绩,前50名都跑进了3小时。所以,期待2019年的中国马拉松成绩吧,会越来越好的!

【本文来自微信公众号“马拉松助手”】